支付宝如何恢复删除账单?下面东方狮教程小编就为大家详细的介绍一下支付宝删除账单恢复方法,大家感兴趣的话就一起来了解下吧!
支付宝如何恢复删除账单?支付宝删除账单恢复方法
1、首先打开电脑浏览器,搜索进入支付宝官方网站,点击【登录】。
2、返然后回个人版支付宝后,点击【交易记录】。
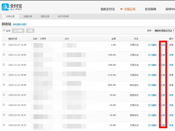
3、跟着点击【回收站】。
4、最后找到已删除的账单,点击【还原】即可。
以上就是支付宝删除账单恢复方法,希望对大家有所帮助。
支付宝如何恢复删除账单?下面东方狮教程小编就为大家详细的介绍一下支付宝删除账单恢复方法,大家感兴趣的话就一起来了解下吧!
支付宝如何恢复删除账单?支付宝删除账单恢复方法
1、首先打开电脑浏览器,搜索进入支付宝官方网站,点击【登录】。
2、返然后回个人版支付宝后,点击【交易记录】。
3、跟着点击【回收站】。
4、最后找到已删除的账单,点击【还原】即可。
以上就是支付宝删除账单恢复方法,希望对大家有所帮助。